|
Description |
Quantity |
|
|---|---|---|
|
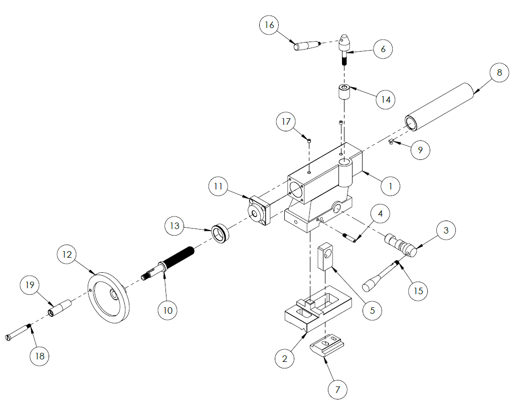
1 |
Tailstock Frame* |
1 |
|
2 |
Tailstock Base* |
1 |
|
3 |
Tailstock Location Cam* |
1 |
|
4 |
Fastner* |
1 |
|
5 |
Tailstock Lock* |
1 |
|
6 |
Tailstock Slide Lock* |
1 |
|
7 |
Tailstock Location Lock Block (PN 37819) |
1 |
|
8 |
MT2 Adapter* |
1 |
|
9 |
Slide Guide* |
1 |
|
10 |
Tailstock Slide Screw* |
1 |
|
11 |
Tailstock Slide Screw Nut* |
1 |
|
12 |
Hand Wheel* |
1 |
|
13 |
Graduation Wheel* |
1 |
|
14 |
Slide Lock Mount* |
1 |
|
15 |
Tailstock Location Lock Handle (PN 37820) |
1 |
|
16 |
Tailstock Handle (PN 37815) |
1 |
|
17 |
Spring Plunger* |
2 |
|
18 |
Shoulder Screw (PN 37813) |
1 |
|
19 |
Tailstock Wheel Handle* |
1 |
*For part availability, please contact Tormach Technical Support
To order part numbers not listed on http://Tormach.com, email orders@tormach.com!