24R Knowledge Base

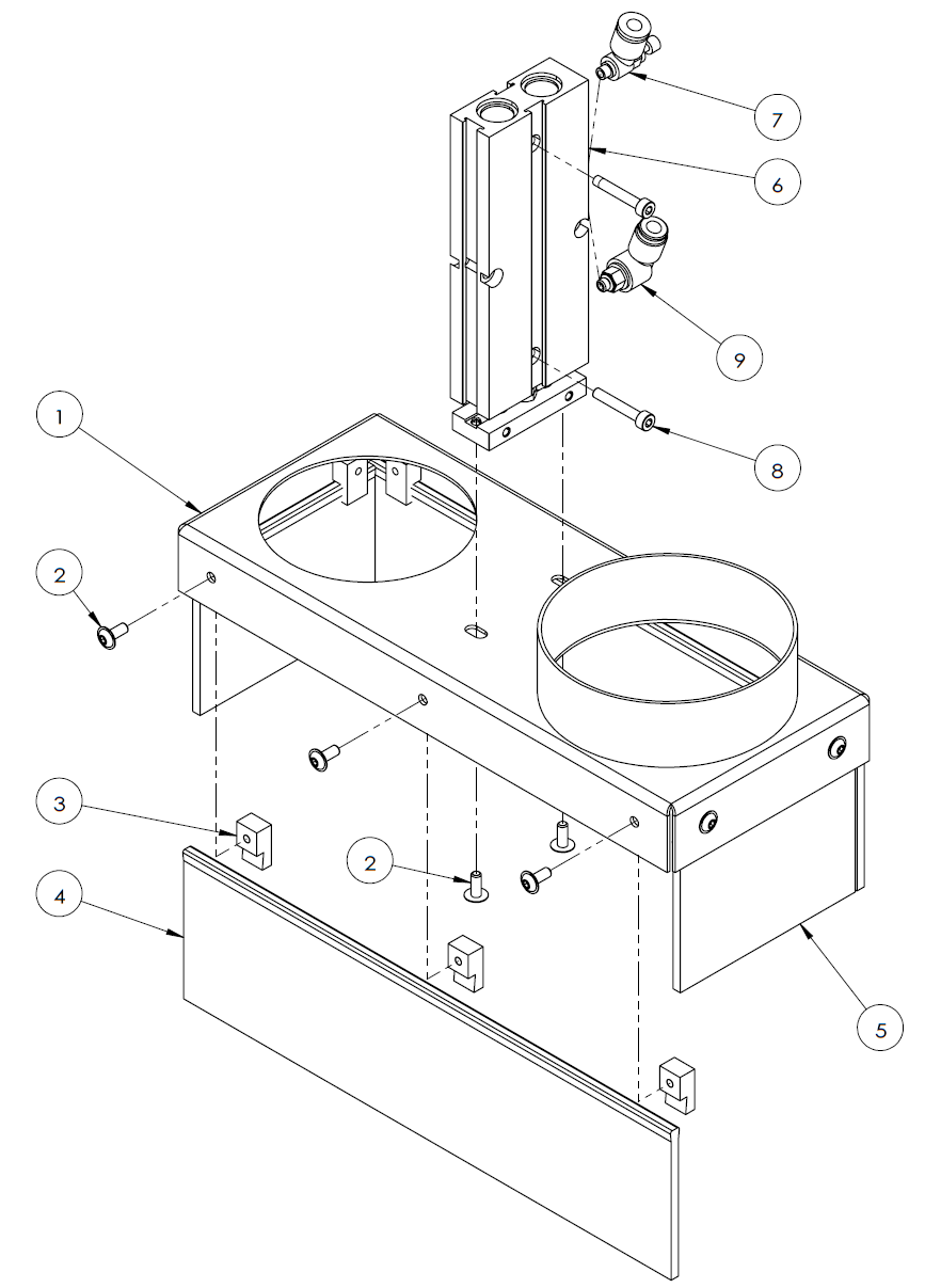
Dust Shoe Assembly, 80 mm, ATC Compatible

image-20260224-210152.png

Description

Alternative Part Number

Quantity

1

Lifting Dust Shoe Body, 80 mm, 24R ATC (PN 39089)

1

2

Screw, Button Head Cap, Flanged M4 × 0.7 - 10, 18-8 Stainless

McMaster-Carr: 90909A718

12

3

Dust Shoe Brushes Clamp (PN 50376)

10

4

Brushes, Dust Shoe, 4 mm wide × 70 mm tall 26.5 cm (PN 52948)

2

5

Brushes, Dust Shoe, 4 mm wide × 70 mm tall 9.5 cm (PN 52940)

2

6

Air Cylinder, Double Acting, Double Rod, 16 mm Bore × 80 mm Stroke (PN 50648)

1

7

Fitting, Metering Out Elbow, M5 × 0.8 (Male) - 6 mm PTC (PN 51157)

1

8

Screw, Socket Head Cap, M4 × 0.7 - 25

McMaster-Carr: 91290A176

2

9

Fitting, Elbow, M5 × 0.8 (Male) - 6 mm PTC (PN 50652)

1

To order part numbers not listed on http://Tormach.com, email orders@tormach.com!