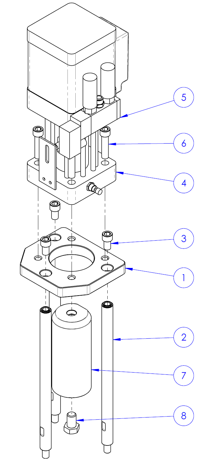
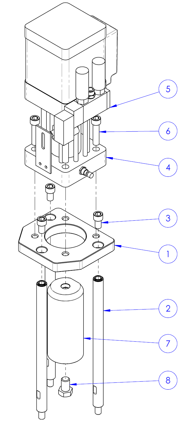
BT30 Power Drawbar Cylinder - 1500MX

Description | Alternative Part Number | Quantity | |
---|---|---|---|
1 | Power Drawbar Mount Plate, 1500MX (PN 51238) | – | 1 |
2 | Standoff, 299.5 mm, M12 × 1.75 - 20 Male, M12 × 1.75 - 15 | – | 3 |
3 | Screw, Socket Head Cap, M12 × 1.75 - 20 (PN 51503) | McMaster-Carr: 91290A612 | 3 |
4 | Power Drawbar Cylinder, 2.5T × 13 mm (PN 51601) | – | 1 |
5 | Drawbar Solenoid Assembly, 1500MX Drawbar (PN 53663) | – | 1 |
6 | Screw, Socket Head Cap, M12 × 1.75 - 50 (PN 32476) | McMaster-Carr: 91290A626 | 4 |
7 | Power Drawbar CTS Extension Sleeve, 1500MX (PN 51605) | – | 1 |
8 | Screw, Hex Head Cap, M16 × 1.5 - 25 (PN 31322) | McMaster-Carr: 91180A913 | 1 |