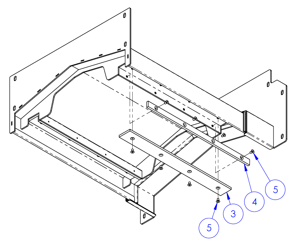
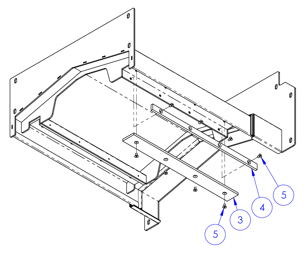
Y-Axis Read Way Cover Assembly - 1500MX


Description | Alternative Part Number | Quantity | |
---|---|---|---|
1 | Base Segment, Y-Axis Rear Way Cover, 1500MX (PN 51636) | – | 1 |
2 | Moving Segment, Y-Axis Rear Way Cover, 1500MX (PN 51637) | – | 1 |
3 | Wide Slide Plate, Y-Axis Rear Way Cover, 1500MX (PN 51644) | – | 2 |
4 | Narrow Slide Plate, Y-Axis Rear Way Cover, 1500MX (PN 51645) | – | 2 |
5 | Screw, Socket Head Countersunk, M4 × 0.7 - 8, Stainless Steel (PN 51672) | McMaster-Carr: 92125A188 | 16 |
6 | Washdown Cover Plate, Y-Axis Rear Way Cover, 1500MX | – | 1 |
7 | Screw, Button Head Cap, M4 × 0.7 - 8, Stainless Steel (PN 50838) | McMaster-Carr: 92095A189 | 3 |